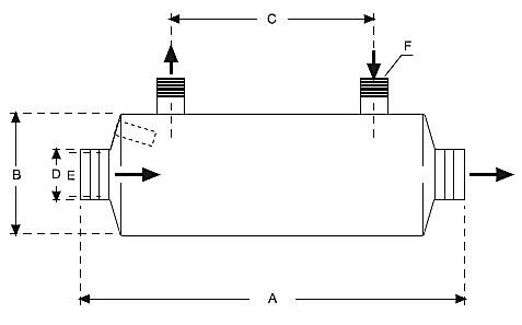
D-HWT hőcserélő
Készre szerelt,kompakt PP házas, bordázott rozsdamentes (VA típus) vagy titán (TI típus)csőspirálos nagy hatékonyságú hőcserélő. Medencék, pezsgőfürdők, fürdőtavak fűtésére.
Víz/víz hőcserélő, sima, keresztáramú tekercselt csővel, korszerű hegesztéssel és kiváló minőségű megmunkálással. A készülék hosszú élettartamát az anyag festéssel, passziválással és külső elektropolírozással történő kikészítése garantálja. Ezek a hőcserélők maximális energiahatékonyságot kínálnak minimális nyomásveszteség mellett. Mint minden tekercscsöves hőcserélőt, ezeket is közvetlenül a medence vízkörforgásába vagy a bypass-rendszeren keresztül kell beépíteni.
Tulajdonságai:
– Rögzítéshez a rozsdamentes bilincs tartozék.
– Max. nyomás fűtési oldal: 10 bar
– Max. nyomás medence oldal: 3 bar



